48173017
Produktnummer:
OSG48173017
Produktinformationen "48173017"
OSG PXDZ PXDZ160-5D-155.5-20 + Driver |
||
|---|---|---|
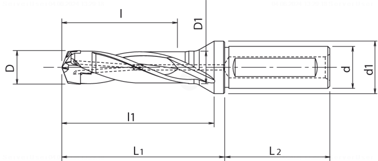
| Geometrische Daten | ||
DIN |
Beschreibung |
Wert |
| J21 | Identifizierende Bestellnummer | 48173017 |
| J3 | Firmenkennung | OSG - OSG |
| NSM | Normnummer Sachmerkmal | DIN4000-86 |
| BLD | Bildkennung | 10 |
| A11 | Schneidendurchmesser, min. | 16 mm |
| A12 | Schneidendurchmesser (max.), erste Stufe | 16.99 mm |
| A61 | Körperdurchmesser, erste Stufe | 15.7 mm |
| ANGLE_BOND | Winkel Bund | 30 Grad |
| B3 | Kraglänge | 110.2 mm |
| B4 | Nutzlänge | 82.5 mm |
| B5 | Gesamtlänge | 160.2 mm |
| B6 | Spannutenlänge | 103.7 mm |
| B7 | Abstand Schneidenecke zu Schneidenspitze | 2.91 mm |
| C11 | Aufnahmetyp, maschinenseitig | ZYL - Zylinderaufnahme |
| C12 | Aufnahmeform, maschinenseitig | 11 |
| C14 | Aufnahmeausführung, maschinenseitig | 1 - Metrisch mit Kühlschmierstoffdurchführung |
| C15 | Aufnahmeart, maschinenseitig | 5 - Zapfen Richtung Maschine bzw. Bohrung Richtung Werkstück |
| C2 | Aufnahmegröße, maschinenseitig | 0200 |
| C3 | Aufnahmedurchmesser, maschinenseitig | 20 mm |
| C31 | Aufnahmedurchmesser, maschinenseitig, ISO-Toleranzklasse | h7 |
| C32 | Aufnahmedurchmesser, oberes Abmaß | 0 mm |
| C33 | Aufnahmedurchmesser, unteres Abmaß | -0.021 mm |
| C4 | Schaftlänge | 50 mm |
| D11 | Anzahl wirksamer Schneiden, erste Stufe | 2 |
| D9 | Einstellbarkeit | 0 - Einstellung nicht möglich |
| DIAMETER_BOND | Durchmesser Bund | 25 mm |
| DIM | Indikator für Maßsystem | 0 |
| E1 | Winkel, erste Stufe | 140 Grad |
| F1 | Schneidrichtung | R - rechts |
| FLUTE_HELIX | Drallwinkel | 25 Grad |
| Flute_Helix_Direction | Drallrichtung | R - Drall-Richtung rechts |
| G5 | Führungselemente | 0 - ohne |
| H21 | Kühlschmierstoff-Eintritt | 1 - mit Kühlschmierstoff-Eintritt axial konzentrisch |
| H22 | Kühlschmierstoff-Austritt | 3 - mit Kühlschmierstoff-Austritt axial schräg |
| H4 | Werkzeugausführung | S - Voll-Stahl |
| J7 | Datenträger | 0 - ohne Datenchip |
| LENGTH_BOND | Länge Bund | 13.1 mm |
| NUMBER_FLUTES | Anzahl der Spannuten | 2 |
| Downloads |
|---|
| DIN4000 (XML) |
| DIN4000 - Container according to DIN26100 |
| DIN4000 (CSV) |
| ISO13399 (GTC) |
| Excel DIN4000 |
| Excel (ISO13399) |